Кран шаровой 11с37п под приварку

| Материал корпуса | сталь 20, с нержавеющим шаром |
| Материал уплотнения затвора | фторопласт-Ф4К20 ГОСТ 10007-80 |
| Уплотнение штока | фторсилоксан |
| Среда | вода, природный газ, воздух, нефтепродукты |
| Тип присоединения | под приварку |
| Способ управления | ручной Ду15-150 мм, под редуктор Ду150-250 мм |
| Конструкционные особенности | полный проход, укороченная строительная длина |
| Класс герметичности ГОСТ 9544-2005 | А |
| Температура рабочей среды | от - 30 °С до + 200 °С |
| Диапазон размеров | от Ду 15 до Ду 250 |
| Класс давления | Ру 40 для Ду 15-50; Ру 25 для ду 65-250 |
Применяется на трубопроводах в качестве запорного устройства, полностью перекрывающего поток рабочей среды.
Есть разрешение Госпромнадзора РБ. Ресурс 7000 циклов.
Возможно исполнение под электропривод 11с937п Ду 15-200. Класс герметичности "А" (по ГОСТ 9544-2005).
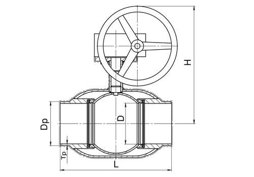
Габаритные размеры кранов шаровые 11с37п

| Условный проход Ду, мм | Эффективный диаметр, мм | Строительная длина, L, мм | Габаритная высота, Н, мм | Масса, кг |
|---|---|---|---|---|
| 15 | 15 | 130 | 90 | 0,9 |
| 20 | 20 | 130 | 90 | 1,2 |
| 25 | 25 | 140 | 110 | 1,4 |
| 32 | 32 | 160 | 115 | 2,2 |
| 40 | 40 | 180 | 120 | 2,6 |
| 50 | 50 | 210 | 130 | 4,2 |
| 65 | 65 | 250 | 170 | 6,9 |
| 80 | 80 | 260 | 180 | 8,9 |
| 100 | 100 | 300 | 190 | 14,2 |
| 125 | 125 | 325 | 200 | 23,7 |
| 150 | 150 | 400 | 230 | 28,5 |
Габаритные размеры кранов шаровые с редуктором 11с337п

| Условный проход Ду, мм | Эффективный диаметр, мм | Строительная длина, L, мм | Габаритная высота, Н, мм | Масса, кг |
|---|---|---|---|---|
| 150 | 150 | 400 | 425 | 46.63 |
| 200 | 200 | 600 | 505 | 111.14 |
| 250 | 250 | 730 | 610 | 209.40 |
Документы
Видео с завода-производителя шаровых кранов Олбризсервис
Другие краны шаровые под приварку
Другие виды стальных кранов шаровых









